设置信息公开申请表的时候,提示“需要成为信息公开管理员,才能处理依申请公开申请表,请联系管理员!
来源:本站原创
点击数: 次
发布时间:2019年09月02日
问题:设置信息公开申请表的时候,提示“需要成为信息公开管理员,才能处理依申请公开申请表,请联系管理员!”,系统提示如下图所示

站点角色管理已经设置分配好了,还需要设置哪里?
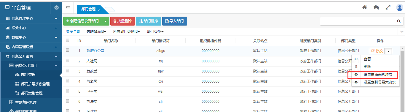
申请管理员配置—设置对应的部门管理员

或者切换到平台管理—部门管理—设置管理员

然后切换回管理员—正常使用。
