sa3.0依申请公开部门设置步骤
3.0之后,sa将以往单独分开的发文部门,信访部门,信息公开部门和依申请受理部门等等都整合在一起,放置在组织结构模块里
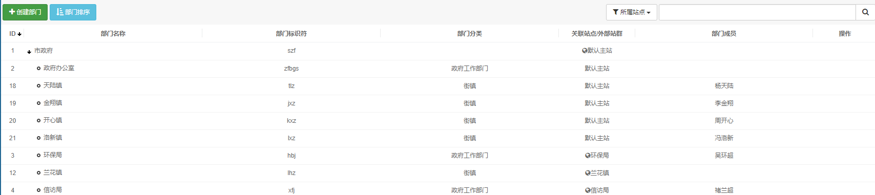
进入后台切换到运维中心,点击组织架构管理模块

可以看到右侧部门信息,若没有部门信息,点击左侧顶部“创建部门”按钮

部门分类:这里作为一个部门集合,对比了下已经上线的3.0项目和测试站(数据都是默认)情况下,这里总结下部门说明:
因为在升级到3.0后时候,升级程序会将以往的发文部门、信访部门和信息公开部门整到一起,没有过滤掉重复的,然后之前主站的发文部门,信息公开部门关联到主站上,并且成了二级部门。
在部门信息比较混乱下,申请页模板输出部门是用指定类型来输出,比较重要的是红圈,指定部门分类来显示
var departments = new DepartmentService().GetMany(x => x.Site.CategoryId == 10 ||x => x.Site.CategoryId == 9).OrderBy(x => x.Order).BuildList(d => d.DepartmentName, d => d.DepartmentId, d => d.DepartmentId == 0);

部门数据比较完美的情况下,直接输出全部部门
var departments = ViewBag.Departments as IEnumerable ;

关联站点:跟后台申请表能看到的部门有关系,比如这个站点后台设置了政府办公室、天陆镇、金翔镇、开心镇和洛新镇是关联到默认主站上

所以在默认主站上依申请模块上我们可以看到这几个部门,同时也看到经过前台提交过来的依申请信息,结合上下图我们可以看到,在默认主站后台可以看到府办公室、天陆镇、金翔镇、开心镇和洛新镇这几个部门

部门成员:这里决定管理员是否能在后台已申请表中看到前台相关部门提交的依申请信息,而在关联部门成员设置呈现联动的。比如在兰花镇站点添加了A管理员,在设置兰花镇部门成员时才有得勾选A管理员。
