SA3.0监测中心操作说明

【“运营中心”可提过监测系统的详细配置;“是否定时监测”、“网站连通性监测的间隔时间”、是否开启“错别字监测”、“敏感词监测”、错误链接监测“、信息更新的“超期栏目监测”、“空白栏目监测”、以及自定义“监测扫描范围”】

【自定义评分规则,系统默认已按照国办扣分要求进行配置,如有地区性因素,可自定义配置总分、网站不连通、错别字、敏感词、错误链接、超期栏目、空白栏目、问卷调查、在线访谈、投票等扣分项】

【平台检测概况全览,直观看出网站不连通、信息安全、信息更新、信息互动类全部存在的问题】

【点击对应的数值可直接跳转到对应快速处理的页面】

【显示全部子站的错别字数量,点击后面的查看可跳转到当前站点的错别字详情页】

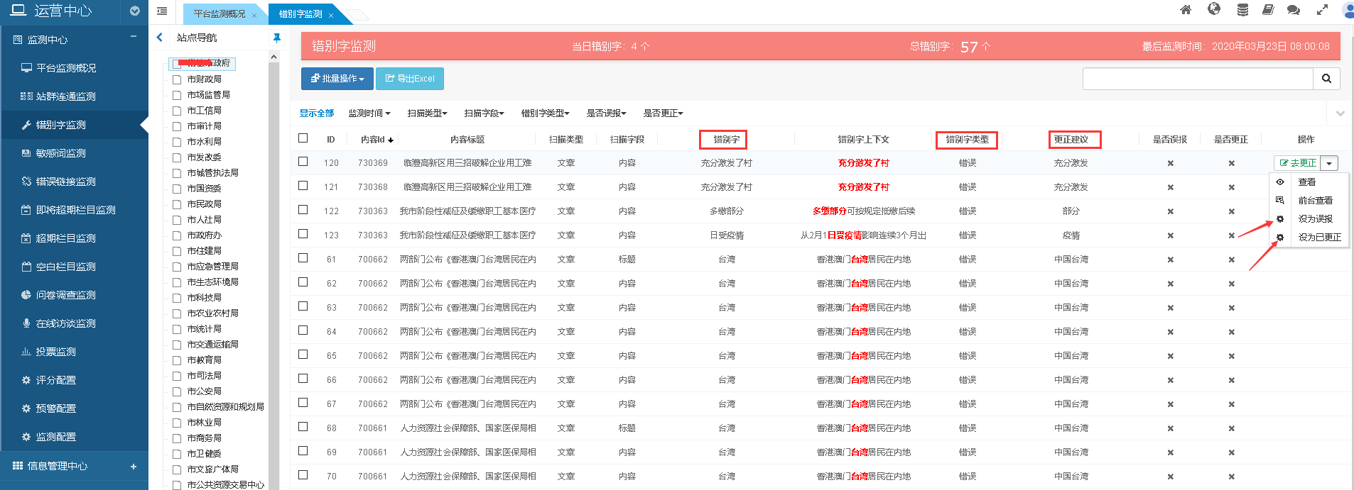
【在错别字详情页可看到全部错别字类型,错别字、错别字类型、更正建议等字段,支持手动设为误报或设为已更正(支持批量设置);支持导出为Excel】

【敏感词检测,如存在敏感词,可点击右侧查看详情进行处理】

【错误链接监测,如存在错误链接,可一键修复全部错链】

【即将超期栏目监测】

【即将超期栏目监测详情页,可以看到超期日期,最后更新日期,支持一键跳转到当前栏目添加文章内容】

【超期栏目监测,直观看出栏目已经超期的具体天数、最好更新日期,支持一键跳转到当前栏目添加文章内容】

【空白栏目监测,支持一键跳转到当前栏目添加文章内容】

【问卷调查监测】

【在线访谈监测】

【投票监测】

【支持预警功能,配置预警下限分数,支持邮件或手机短信通知给预设的预警消息接收人】

【站群连通性监测可以看到当前站群下所有站点的连通性情况,以24小时分段显示,鼠标移动到圆点上可以显示总共监测次数和实际连通率,并以红黄绿三色直观看出当前站群所有站点的情况是否良好】

【支持查询今天、最近30天、以及自定义实际段的所有站点的连通情况】


【邮件预警效果图】
