信息公开部门合并(SA3.3版本)
来源:本站原创
点击数: 次
发布时间:2021年02月03日
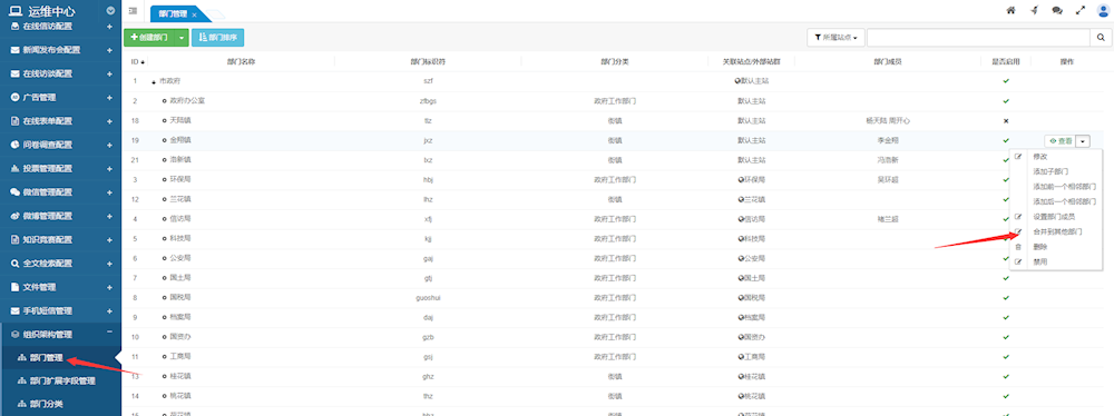
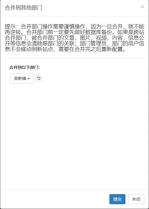
部门存在重复的情况,导致前台提交申请表,信访等都会到不同的部门中,3.3版本提供了部门合并的操作,合并后所有的申请表,信访,部门成员的数据会自动整合。
运维中心--组织架构管理--部门管理:点击合并到其他部门;


